Thread Type: BSPP (British Standard Parallel Pipe) Swivel Female
Standard Compliance: Manufactured to BS EN 10277
Temperature Range: -40°C to +120°C (no pressure reduction)
Pressure Ratings:
Proof Pressure: 2× working pressure
Burst Pressure: 4× working pressure
Torque Guidance: Recommended torque values for lightly oiled steel threads
Quality Assurance: ISO 9001-certified manufacturing
Description
This 90° cross adaptor features four BSPP swivel female connections with 60° cone seals, enabling easy and secure multi-connection points in hydraulic systems. The swivel design simplifies installation and alignment, while the 60° cone ensures a leak-free seal. Manufactured by Burnett & Hillman from high-quality mild steel to BS EN 10277 standards, it is ideal for complex fluid routing in high-pressure hydraulic applications.
Key Features & Benefits
Durable Construction: Mild steel for strength and long-lasting performance
Thread Configuration: BSPP swivel female x 4 with 60° cone sealing
90° Cross Design: Allows four-way hydraulic system integration
Swivel Design: Eases installation and alignment in confined spaces
Standard Compliance: Produced to BS EN 10277 for accurate threading
Quality Manufacturing: ISO 9001-certified production ensures reliable quality
Downloads
Burnett & Hillman Pressure Guide
SKU
Product Code
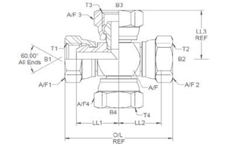
T1 - T4 (")
B1 - B4 (")
O/L (")
LL1 - LL2 (")
LL3 (")
A/F (")
A/F1 - A/F4 (mm)
380430
Z4MB02
1/8
0.125
1.92
0.71
0.85
0.5
0.6"
380431
Z4MB04
1/4
0.172
1.98
0.785
0.952
0.625
19
380432
Z4MB06
3/8
0.271
2.52
1.002
1.133
0.75
22
380433
Z4MB08
1/2
0.375
2.71
1.063
1.271
0.875
27
380434
Z4MB10
5/8
0.5
3.1
1.135
1.454
1
30
380435
Z4MB12
3/4
0.6
3.31
1.232
1.482
1.125
32
380436
Z4MB16
1
0.797
3.72
1.423
1.7
1.375
41
380437
Z4MB20
1 1/4
1.014
4.28
1.715
1.975
1.75
50
380438
Z4MB24
1 1/2
1.201
5.22
2.1
2.34
2
55
IMPORTANT: The technical data given on this website is for preliminary information purposes only and is published without guarantee. All line drawings are for illustrative purposes only and should not be regarded as wholly accurate in every detail. We reserve the right to withdraw or to alter the specification of any product without notice. For more information, please consult our Terms of Business.
If you require any further information, our excellent customer service team is here to help so please call us on 01794 835835.