Connection Type: Butt-welding or electrofusion compatible
Angle: 90°
Leak Test Port: Located on the outer radius of the bend
Application: Building and site drainage, particularly for testable joints
Available Sizes: 90mm
Colour: Black
Description
This 90° connection bend features an integrated leak indicator, providing an immediate visual cue of joint integrity after installation. It is ideal for critical drainage zones where weld testing is essential. Manufactured from UV-stabilised PE-HD, this fitting is designed for long-term durability and performance in commercial and high-rise installations.
Key Features & Benefits
Leak Indicator Port: Allows pressure or vacuum testing to confirm weld integrity after installation.
90° Bend Geometry: Optimised for changes in flow direction in vertical-to-horizontal transitions.
Weldable PE-HD Body: High-density polyethylene for robust chemical, UV, and impact resistance.
Secure Testing: Enhances site compliance by enabling simple quality control checks post-weld.
Durable & Maintenance-Free: Requires no additional sealing components; suitable for permanent installation.
Ideal for High-Risk Areas: Used in risers, plant rooms, or enclosed service ducts where leak prevention is critical.
SKU
Geberit Code
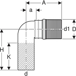
DN
d (mm)
d1 (mm)
Arc °
A (cm)
a (cm)
D (cm)
H (cm)
K (cm)
489472
367.997.16.1
90
90
90
90
19.7
11
10.8
22.5
13
IMPORTANT: The technical data given on this website is for preliminary information purposes only and is published without guarantee. All line drawings are for illustrative purposes only and should not be regarded as wholly accurate in every detail. We reserve the right to withdraw or to alter the specification of any product without notice. For more information, please consult our Terms of Business.
If you require any further information, our excellent customer service team is here to help so please call us on 01794 835835.